在部分企業,倉庫常被視為“后勤保障”,但真正懂管理的人都知道:倉庫不是配角,而是成本控制與運營效率的關鍵節點。
從專業角度來看,任何一個倉庫的運作都可以歸結為五個核心動作:收、管、存、發、盤。
這五步,就是倉庫(ku)的底層邏輯。誰管得好,就能把庫(ku)存壓下(xia)來、效率提上(shang)去(qu)、出錯率降下(xia)去(qu)。
接下來咱們就把倉(cang)庫管理的這(zhe)五(wu)步拆(chai)開講清楚,徹底解決倉(cang)庫管理難題(ti)。
文章參考>> //gaoyunjjd.com
一、收、管、存、發、盤是什么?
別把倉庫想復雜了,說到底它就是干五件事:收、管、存、發、盤。這(zhe)五個動作說(shuo)清楚了,倉庫的(de)事(shi)就明白(bai)一半了。
下面咱們一個一個拆開(kai)講,看看這(zhe)五步到底管什么(me)、該怎么(me)整(zheng)。
1. 收:入庫接收
東(dong)西到了門口,第一步就是“收”。 可別(bie)小看(kan)收貨,這一步要是收錯、收漏(lou)、收得不(bu)清楚,后面所有工(gong)作都會出(chu)問題。
收什么?三樣東西必須對清楚:
- 收數量:跟采購訂單一筆筆對,看是不是多收了、少收了,不能差不多就行。
- 收質量:有些東西得先過質檢才能放進倉庫,不合格的千萬不能混進去。
- 收信息:這個最容易忽略。誰送的、哪天來的、什么料、有沒有保質期、是不是帶批次的,這些都得標清楚。尤其是食品、藥品、化工類,生產日期、失效時間一個都不能漏。
一句(ju)話:收貨不(bu)是(shi)簽個(ge)單(dan)就完事,而是(shi)第(di)一道把關,關口不(bu)嚴,后面都(dou)得返工。

2. 管:分類管理
東西進了倉庫之后,別著急往貨架上扔,得先“管”起來。
這個“管”,說白了就是把物料的信息建檔、歸類、編號、登記清楚,做到(dao)“誰是什(shen)么、從哪來(lai)、去哪了”,全(quan)都(dou)能對得上(shang)。
怎么管?
- 分類管理:先把東西按類型分好,比如原材料、半成品、易耗品、成品,不能一鍋燉。
- 一物一碼:每一種物料都有獨立編號,叫法要統一,不能今天叫“螺絲”,明天叫“M5”。
- 批次和效期管理:帶批次的,標清楚批號;有保質期的,寫明生產日期、失效時間。
- 信息綁定:誰送的貨,哪天送的,有沒有質檢報告,都要跟這個物料綁定上,方便以后查。
這一步的目標就一句話:東西雖多,但賬、物、人都要一一對應、查得清楚。

3. 存:規范存放
“存”不是“堆”,別想著往角落里一塞就完事。 存得亂,找起(qi)來(lai)就麻煩,領料(liao)容(rong)易拿(na)錯,過期了(le)(le)你都發現不了(le)(le)。
存貨(huo)有(you)三件事特別重要:
- 貨位規劃:倉庫得分區、貨架得編號,哪一排放什么東西、每層放幾個,全得有規劃,不能亂來。
- 先進先出(FIFO):特別是有保質期的物料,一定要按進倉順序用,老貨先用,不能新貨壓著舊貨。
- 特殊品分類放置:比如易燃、易爆、易揮發、腐蝕性強的東西,必須有獨立的區域存放,不能和普通物料混在一起。
說到底,“存”不是隨(sui)便往倉庫里一丟,而(er)是“有位置、有規則、有順序(xu)”。
4. 發:按單出庫
“發”是(shi)最容(rong)易(yi)出問題(ti)的環(huan)節。 為(wei)(wei)啥?因為(wei)(wei)這時候(hou)人(ren)容(rong)易(yi)著(zhu)急,訂單催(cui)著(zhu)出貨,結果(guo)一忙就發錯、發漏、發重。
要想把(ba)“發”干好,關鍵就三點:
- 按單發料:先看清楚要發什么、發多少、發給誰,不能憑記憶、靠習慣來發。
- 領料確認:每次發料前都要核實清楚,是不是對的人、對的料、對的數量。
- 記錄完整:每次發貨都得留下痕跡,誰發的、什么時候發的、給誰發的、用來干嘛,全得記下來。
5. 盤:定期盤點
最后一步,“盤點”。
盤點不是年底搞一場“運動式清倉”,而是日常要做、定期要查、錯了要改的事情。目的就一個:賬和實物,必須對得上。
盤點怎么做?
- 定期輪盤:不用每次都全盤,可以分區域、分品類逐步輪查,既不影響日常,又能及時發現問題。
- 準備充分:盤點前得先清點在途、在用、鎖定的庫存,別盤錯了還怪系統。
- 結果要復盤:發現差異不是改個數就完了,而是要分析是收錯了、發錯了、還是記錯了,責任要能查。
盤點這事,盤得準了,你的賬目才可信。不盤點的倉庫,其實根本不知道自己有什么。

二、如何用進銷存系統高效管理這五步?
倉庫流程人(ren)人(ren)懂,但要做到(dao)規范、高效、可追溯(su),必須依靠(kao)系(xi)統(tong)化管理(li)。
一、收:掃碼入庫 、質量控制 、批次建檔
以前收(shou)貨(huo)是(shi)個體力活,也是(shi)個風(feng)險活。供應商送貨(huo)來了(le),倉庫人員一邊(bian)收(shou)貨(huo)、一邊(bian)看單、還(huan)要(yao)手寫(xie)入庫記(ji)錄(lu)。
現在用進銷存系統,收貨就一件事:掃碼。
- 支持掃碼收貨,自動關聯采購訂單與到貨記錄
- 建立物料檔案+批次號+保質期等字段,系統自動生成或掃碼錄入
可解決的問題:
- 防止錯收、超收
- 強制質檢流程
- 保質期、批次信息入庫即留痕
場景舉例(li):到(dao)貨(huo)即錄(lu)入生(sheng)產日期(qi)+保質期(qi),系統自動算出失效時間,提示儲位優先級。

二、管:一物一碼 、批次追溯
這(zhe)一步說白(bai)了就(jiu)是給物(wu)料建檔、分(fen)好類,誰(shui)來的(de)(de)貨、哪(na)天來的(de)(de)、哪(na)批(pi)的(de)(de),全得(de)有記錄。
進銷存系統怎么高效做?
- 一物一碼建檔,系統不允許重復命名或編碼
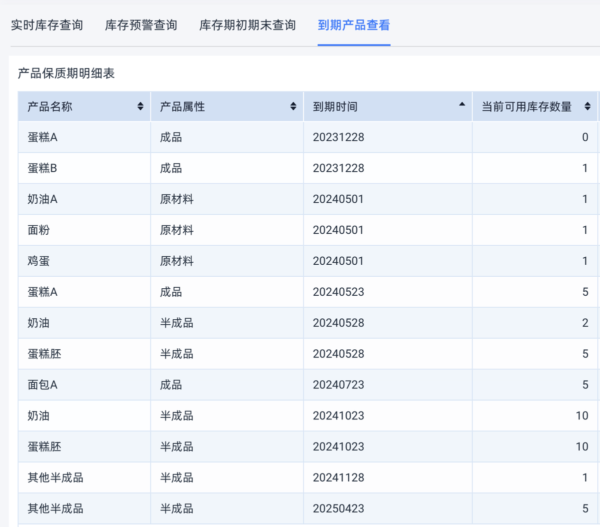
- 每個批次記錄保質期,到期前自動預警
- 支持“來源可追、去向可查”的批次流轉全程追溯
可解決的問題:
- 同種物料不同批次管理混亂
- 難以追蹤已發出的產品流向
- 超期物料無法識別
場(chang)景舉例(li):發現某批次產品有(you)質量問題,系統可(ke)追蹤所有(you)入庫(ku)時間(jian)、庫(ku)存(cun)數量、領(ling)用/出(chu)庫(ku)記錄。

三、存:批次出庫、FIFO先進先出
你可(ke)能覺得,存(cun)不(bu)就是找個貨(huo)架往上一(yi)放?
可問題就在這兒,沒人規定放哪,今天放A架,明天又被移到B區,要貨的時候找不到,人到處(chu)跑,訂單卻在等。
進銷存系統提供這些功能:
- 每個貨位在系統中有明確坐標(區域-貨架-層位)
- 系統推薦“先進先出”原則出庫的最早批次
- 設置上下限庫存預警,防止缺料或積壓
可解決的問題:
- 亂放、找貨難
- 超期庫存、臨期庫存出不掉
- 超儲或斷料無預警

四、發:按單發料 、出庫防錯
系統怎么做?
- 出庫操作需掃描確認物料、批次、數量
- 系統自動校驗是否匹配訂單要求,防錯攔截
- 出庫記錄完整,含操作人、用途、單號等
可解決的問題:
- 發錯物料、錯批次、漏發超發
- 出庫責任難追溯
- 人工寫單效率低
場景舉例:系(xi)統提示“該批次不滿足先進先出”或“該料已過(guo)保質期”,阻止繼續(xu)發貨。

五、盤:掃碼盤點 、 責任歸屬
很多企(qi)業(ye)盤(pan)點還停留在“年底一(yi)次(ci)大(da)清點”的階(jie)段(duan),平時沒人理,一(yi)年算一(yi)次(ci)賬。
系統怎么做?
- 手機/PDA掃碼快速盤點,系統自動生成盤點表
- 自動比對賬面數量,生成盤點差異報告
- 支持按人、按區域、按物料統計誤差,方便追責
可解決的問題:
- 賬實不符、錯盤漏盤
- 全靠人工盤點,效率低誤差高
- 差異數據沒人認領、無人整改
場景(jing)舉例:某貨架(jia)盤點缺3件,系統顯示(shi)上(shang)次領料(liao)人是誰,關聯操作記(ji)錄明確責任。

三、倉庫管理不難,關鍵在系統化和標準化
系統再好,管得再細,要是用起來脫節、連不通外部,照樣卡脖子。所以一個真正靠譜的進銷存系統,除了把“收、管、存、發、盤”這五步管住了,還得能接、能連、能擴展。
說白了,就是(shi)別(bie)做(zuo)“信息孤島”。
1. 能接常用工具,和你日常辦公打成一片
像什么企業微信、釘釘、飛書這些常(chang)用的辦(ban)公平臺,都(dou)能(neng)接得上(shang)。
- 新貨一到,系統直接通知你收貨
- 手機一掃就能入庫,出差在外也能審批
- 員工在移動端就能完成操作,不用天天跑電腦前
外部供應(ying)商查下到(dao)貨、看下訂單(dan)狀態(tai),全程不用來(lai)回打電話。效果如(ru)圖:

2. 平臺本事大,愛怎么擴就怎么擴
這(zhe)個系(xi)統(tong)底層就開(kai)放,支(zhi)持:
- API接口、Webhook,對接你們現有的ERP、MES、財務系統都不費勁;
- 單點登錄(SSO),一個賬號登錄多個系統,方便管權限;
- 插件擴展,你愛官方的用官方,要定制的你也能自己做。

這意味著啥?
你不是多了一個“進銷存工具”,而是直接搭好了后面整個數字化工廠的底座。 用得好(hao),你就能做(zuo)到:
- 移動端就能收發貨、看庫存、批訂單
- 所有數據和財務系統打通,一套數、一個口徑
- 后面要上更大的系統,比如智能排產、供應鏈協同,直接能接得上
四、結語
咱們講了這(zhe)么(me)多,其實就想說明(ming)一件(jian)事:
倉庫這活(huo)兒,絕不(bu)是體力活(huo),更不(bu)是“老員工靠經驗”的天下。
再(zai)忙的倉(cang)庫,只要你把“收、管、存、發、盤”這五步(bu)梳理(li)清楚,用(yong)上系統化(hua)手段、落(luo)地(di)標準化(hua)操作(zuo),就(jiu)能從混(hun)亂變有序、從費人(ren)變省人(ren)、從糊涂賬(zhang)變成明(ming)細賬(zhang)。
說到底,倉庫不是靠人撐,是靠體系撐;不是人越多越好,是流程越順越值。