如何高效地進行設施設備的維護管理?
設施設備維護管理,關鍵是體系化與落地
這幾年,我接觸過不少制造業、實驗室等,發現一個普遍問題:設備維護管理的重視程度遠遠不夠。很多企業都意識到:設備出問題會影響生產,但真正做到科學、體系化維護的,比例不高。
設備維護的核心是預防。
大多數企業在設備維護上,最常見的問題是——設備壞了就修,沒壞就不管。這種方式短期看似節約成本,但長期下來,設備故障率高、停機時間長、維修成本更高。
我自己的經驗是,設備維護要分三個層次:
- 被動維修:設備壞了才修;
- 計劃性維護:根據設備使用周期制定保養計劃;
- 預測性維護:通過數據和狀態監測提前發現隱患。
要從第一層走向第二、第三層,就必須讓信息流通起來,讓維護工作有據可依。這時系統化工具的作用就很明顯了。
我放了個入口在下面,點進去能看到設備從報修到維修閉環的整個過程,邏輯清晰,對想高效地進行設備的維護管理挺有參考價值,大家自取。
文章參考>> //gaoyunjjd.com
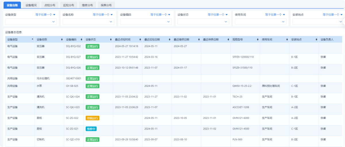
一、維護管理的基礎——設備臺賬
很多人覺得設備臺賬是個文檔工作,但在我看來,這恰恰是維護管理的核心。 沒有準確的臺賬,就不可能做出有效的計劃;設備狀態不清楚,維護工作只能拍腦袋。
每臺設備都有編號、二維碼、電子檔案。掃描二維碼就能看到它的詳細信息,包括采購時間、安裝位置、使用部門、負責人、保養周期、維修記錄等。 以前要查一臺設備的信息,得翻紙檔、打電話問,現在手機一掃就能看到,這在多設備、多人員的場景下特別方便。


更重要的是,這種電子化的臺賬是動態的。 比如設備送檢后,狀態自動變為“送檢中”;維修完成后,系統會自動切換為“可用”;如果到了保養時間,會自動提醒責任人執行。

二、巡檢與保養
大家都知道要巡檢,但執行情況參差不齊,紙質表格要么漏填,要么月底集中補填。結果出現故障的時候,沒人能說清楚到底是不是點檢沒做到位。
現在移動端的巡檢系統,效果非常明顯。 系統會根據設備類型自動生成巡檢計劃,比如:
- 每日點檢:電機溫度、噪聲、振動;
- 每周點檢:潤滑、螺栓緊固;
- 每月點檢:控制系統、傳動機構。
系統會自動提醒點檢人,當天必須完成對應巡檢任務。完成后可以在手機上直接填寫結果、上傳照片或視頻,系統會自動記錄操作人、時間、巡檢結果。 一旦發現異常,可以直接在巡檢界面上報修,形成閉環。

我覺得這種方式的最大價值,不只是提醒,而是可追溯。 當設備真的出問題時,我們能快速調出歷史巡檢數據,判斷是否因為維護不當造成的。長期積累下來,企業還能做出故障分析,調整維護周期。
三、維修管理
維修是維護體系中最容易亂的環節。很多企業維修流程都是口頭報,維修人員也忙,修完沒記錄。等月底統計維修情況時,沒人能說清楚到底修了多少臺、用了多少工時、花了多少錢。
現在可以用系統串起整個維修流程。
具體流程是這樣的:
- 現場人員發現異常后,手機掃碼一鍵報修;
- 系統自動通知對應維修人或班組;
- 維修人員接單后填寫處理過程、配件使用、工時;
- 維修完成后,責任人確認并更新設備狀態。

整個流程都有時間節點記錄,維修效率、響應時間、維修頻次都能自動統計。 現在系統自動出報表,哪臺設備維修次數高、維修周期短、一目了然。 這類數據對后期設備更新決策特別有幫助。
四、維護保養計劃管理
設備維護計劃很多企業都有,但執行率不高。原因其實不復雜: 一是提醒機制不完善,沒人盯著就容易忘; 二是缺乏監督手段,完成情況無法核查。
現在系統可以針對不同設備設定保養周期、提醒時間和責任人。到期前自動提醒,過期未完成的任務會在后臺標紅提示。 比如我設定每臺空壓機每季度保養一次,到期前系統自動提醒我和設備負責人;保養完成后上傳記錄照片,系統自動更新保養狀態并生成報告。

這樣的方式讓計劃真正“執行起來”,而不是停留在紙面上。管理層也能看到實時的保養完成率,對責任部門有據可查。
五、數據輔助決策管理
過去我花大量時間盯人、盯流程,但現在,我更像是在用數據做決策。
通過系統統計報表,我能看到每個部門的設備完好率、巡檢完成率、維修平均響應時間、設備停機時長等關鍵指標。 這些數據讓管理變得客觀,也減少了爭議。


我常對同行說,真正的高效維護,不在于你能修多快,而在于你能預防多少次故障。系統化管理,讓我們變成事前預防。
六、落地建議
最后,我想談談落地問題。很多企業一談系統,就覺得投入大、周期長。其實完全沒必要一上來就做全套。我的建議是分階段推進:
- 第一階段:做設備臺賬電子化;
- 第二階段:上線巡檢與保養提醒;
- 第三階段:完善報修、維修閉環;
- 第四階段:引入數據統計分析。
每一步都能看到成效,而且后期可以逐步擴展到能耗監測、備件庫存管理、人員績效考核等模塊。 只要流程規范、數據沉淀下來,整個維護體系就能自然形成。
我做設備管理這些年,一個深刻體會是: 設備維護不是技術問題,而是管理問題;不是工具能不能用,而是你有沒有形成閉環思維。
高效的維護管理,應該是數據驅動、責任清晰的。 現在的數字化工具已經足夠成熟,只要企業愿意梳理流程、建立標準,再借助合適的系統,基本都能實現從人工維護到智能管理的轉變。
設備維護管理看似瑣碎,但它決定了生產穩定性和管理水平。 越早數字化、越早體系化,越能在后期節約成本、提升效率。 這是我這些年最大的感觸。

