生產管理這件(jian)事,說復雜也復雜,說簡單也簡單。
你去問工廠里的人,什么是生產(chan)管理? 十有八九的回答,都(dou)是這些(xie): “盯(ding)現場、趕進度、管交(jiao)期、控質量。”
但真管得(de)了(le)嗎? 為什么(me)有些(xie)廠越管越亂,忙得(de)天昏地暗,交期(qi)還天天跳票? 為什么(me)有些(xie)廠看著不急不忙,但活就是干得(de)又快又好(hao)?
其實,生產管理啊,說到底就四個字:“四管八理”。
這四個字,才是真正把生產管順、管穩、管清楚的訣竅。
今天就講這四個字,講明白生產管理該怎么管,怎么理,怎么落地。
文章參考的系統>> //gaoyunjjd.com
一、生產管理是什么?
一句話講清楚: 生產管理,就是把產品按時、按質、按量、按成本地生產出來。
說得再細一點,生產管理就(jiu)是管這幾(ji)件事:
- 什么時間、做多少、怎么做、給誰做;
- 材料夠不夠、設備行不行、工人會不會;
- 怎么控制成本、怎么保證質量、怎么按時交貨。
說白了,就是圍著這四個目標打轉: 交期、質量、成本、效率。
但(dan)是啊,理論聽起來(lai)簡單,真到工廠(chang)里,這事就麻煩了。
生產(chan)管理(li)這個活(huo),說難不(bu)難,說簡單也不(bu)簡單。
最大的問題就在于:部門多、流程長、角色雜,牽一發而動全身。
計(ji)劃、車間(jian)、倉庫、采購、質檢、財務,每個環節(jie)都繞不開, 很(hen)多(duo)企(qi)業就是管(guan)著管(guan)著,人一多(duo)、事一雜,節(jie)奏就亂了。
所以,想把生產管理這事管順,不是靠拍腦袋,也不是靠經驗堆, 而是得有一套方法,把這攤事管清楚、管明白、管到底。

二、生產管理的四管
工廠生產,說到底,繞不開四個字:人、物、事、錢。
管得(de)好(hao),現場穩(wen)、交期穩(wen)、利潤也穩(wen)。
1. 管人:人管不住,什么都管不住
人(ren)(ren),是(shi)生產的起點。 人(ren)(ren)心不穩、紀律不嚴,現場就(jiu)亂套。
管人(ren),核心就三件(jian)事:
- 立規矩:規章制度必須有,崗位職責、操作流程、獎懲細則,全部寫清楚。啥能干、啥不能干,不能模糊。
- 做培訓:光有規矩不夠,還得培訓、教育,讓員工知道怎么做、怎么做對。尤其是新員工、巡檢員、操作工,要手把手教,不能光靠紙上說教。
- 設激勵:人是有動力的,干得好有獎勵,偷懶耍滑必然有懲罰。 比如,產量高、品質好、無安全事故的工人,可以在工資統計、績效報表里直接體現差異化,讓人有盼頭。

2. 管物:物料、設備、庫存,任何一個環節掉鏈子,生產就癱
工(gong)廠的“物(wu)”,就是原材料(liao)、半成品、工(gong)具、設(she)備(bei)、備(bei)件。 很多工(gong)廠,現場一亂(luan),十(shi)有八九是“物(wu)”出(chu)了問題。
管物,關鍵三件事:
- 庫存管理:庫存太多,壓錢、擠空間;太少,斷料、停工。 庫存管理模塊,就是幫你盯庫存的。它能精準記錄每筆入庫、出庫,自動計算庫存數量、庫齡、資金占用,還能設置預警線,庫存過高、過低都會報警(圖中紅色部分)。

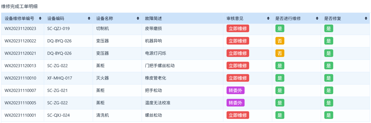
- 設備管理:設備得健康運行,不能“帶病作業”。 設備檔案、設備巡檢、設備保養、設備報修這些模塊,就是你的設備“健康檔案”。 設備點檢、保養按計劃做,設備異常提前預警,維修也能自動派單、記錄。

- 生產環境管理:別小看現場環境,溫度、濕度、清潔度、消防安全,這些都是生產效率的隱形推手。 干凈的環境、合理的布局、舒適的溫濕度,不只是安全問題,效率、品質也都會受影響。
3. 管事:工單、任務、流程、進度,環環相扣,不能掉鏈子
“事(shi)”,就是工(gong)廠每天在做的活兒: 生產任(ren)務、工(gong)單、工(gong)序(xu)、報工(gong)、入庫、交付,全都算(suan)“事(shi)”。
管(guan)事,核心也是三步:
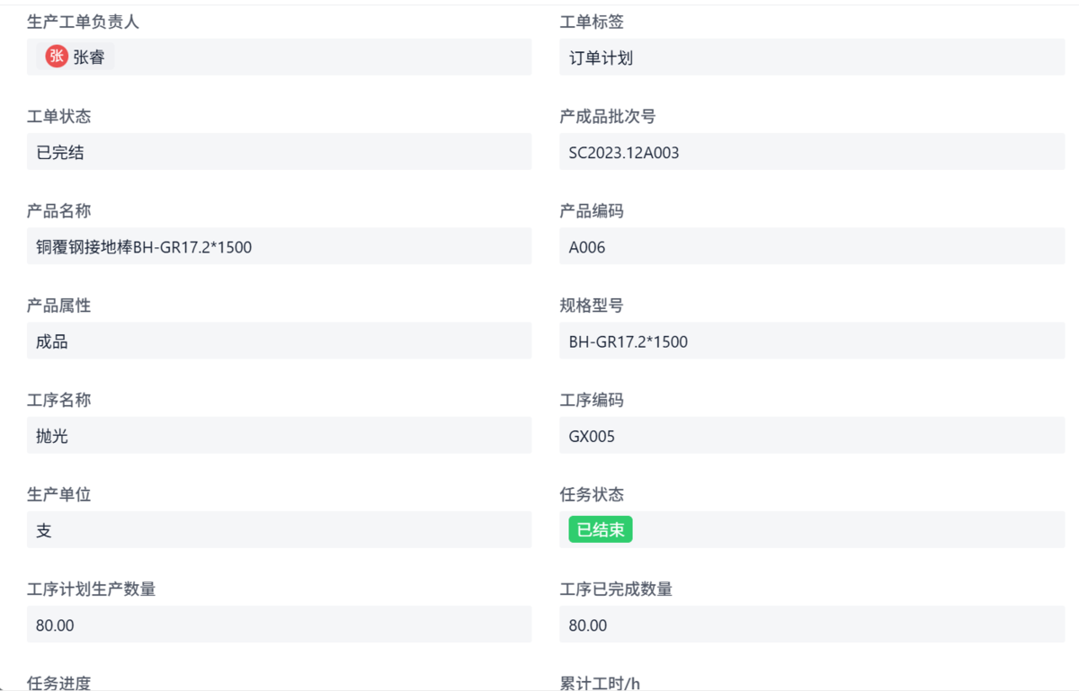
- 計劃要細:什么任務、誰來干、怎么干、什么時候干完,都得提前排好。 系統里的生產工單、生產任務模塊,就是專門干這個的。工單一出,工序、產量、交期、責任人,全都清清楚楚。

- 過程要盯:不能只靠計劃,過程必須有人盯著。 生產報工、生產監控看板、執行統計這些模塊,能讓管理者隨時看到每個工單、每個工序的進度,哪里慢、哪里卡,一目了然,發現問題馬上調整。
- 結果要復盤:活兒干完了,不能一了百了,要復盤。 工單數據、報工數據、異常記錄、返工返修,這些信息,就是你的“復盤素材”,下次做同類產品,可以少踩坑。

4. 管錢:錢不是財務部門的事,是生產現場的事
工(gong)廠賺(zhuan)錢(qian),最終還(huan)是看錢(qian)管得好(hao)不好(hao)。
這里的錢,不(bu)光是利潤(run),還有這些:
- 員工工資、設備折舊、物料成本、能耗費用、庫存資金占用……都是錢。
管(guan)錢(qian),兩個核心動作:
- 投得準:不該花的錢堅決不花,該花的錢一定不能省。 比如設備該保養就保養,延誤保養導致停機的損失,往往遠比保養費高得多。
- 控得嚴:錢的每一筆流向,都得清楚。 經營看板、經營分析報表,就是用來盯錢的工具,能讓你清楚看到人工成本、物料成本、庫存資金占用、訂單利潤結構,心里有數,決策才準。
一句(ju)話總結:管錢,絕不是財務部門的(de)事,而是每個生產管理者都必須懂的(de)活兒。

三、生產管理的八理
四管,是(shi)管大盤, 八(ba)理,是(shi)管細(xi)節。
很(hen)多工廠,大盤管得還行,細節一(yi)亂(luan),現場照(zhao)樣(yang)忙(mang)亂(luan)。
下面這(zhe)“八理(li)”,就是把(ba)細節(jie)一條(tiao)條(tiao)理(li)順的實(shi)操(cao)抓手, 不管你工廠多大,這(zhe)八個字,全都繞不過去。
1. 把戰略理“優”
戰略,說(shuo)白了(le),就(jiu)是工廠的方向盤。
廠里一年到頭,忙得再兇,如果(guo)方向不對,全白忙。 戰略得實事求(qiu)是(shi),不能光喊口(kou)號,得問(wen)三(san)個(ge)問(wen)題:
- 市場現在缺啥?
- 咱們真能做啥?
- 做下去能不能賺到錢?
2. 把目標理“清”
目標不(bu)清,現場永遠靠猜。
目標必(bi)須具體、量化、能落(luo)地:
- 不是“今年提升品質”,而是“本季度合格率達到99%”;
- 不是“提高效率”,而是“單件工時減少5%”。

3. 把風險理“低”
工廠的風險,永遠不能輕視, 設備故障、質量事故、交期延誤、庫存(cun)斷供,全(quan)是風險。
怎么管風險?三招:
- 設備按時巡檢、保養,設備點檢、維修模塊就是防線;
- 安全培訓、操作規程不能漏;
- 應急預案必須有,出了問題,馬上能響應。

4. 把制度理“順”
工(gong)廠不是靠(kao)感情管的(de),制(zhi)度必須立得穩。
但光立(li)規矩(ju)還(huan)不夠,規矩(ju)還(huan)得用得下去(qu),怎么做(zuo)?
- 制度要清晰,不能模糊;
- 獎懲要公正,不能偏心;
- 操作要順手,不能讓人反感。
5. 把職責理“實”
職責不清,工(gong)廠一定亂。
“你以為(wei)他(ta)干,他(ta)以為(wei)我(wo)干,最后(hou)都(dou)沒(mei)干”,這(zhe)種事,車(che)間天天發生。
怎么理職責?
- 每個崗位,干啥、怎么干、啥標準,全部要細化;
- 工單上責任人、操作人、檢驗人,必須清楚。

6. 把流程理“快”
流程(cheng)慢,不(bu)是(shi)人懶,是(shi)流程(cheng)設計本(ben)身有問(wen)題(ti)。
怎么理流程?
- 砍掉不必要的審批、簽字、匯報,能線上解決的別線下繞圈;
- 關鍵流程必須快,不能卡在中間等簽字。
7. 把標準理“精”
工廠如果沒有標準,品質、效率、成本都會亂。
怎么理標準?
- 每個環節都要有標準,從原料、工藝,到檢驗、包裝;
- 標準要能操作、能檢查、能復盤,不是寫在紙上的空話。
像巡檢標準、質檢報告、操作規程,都可(ke)以在系統里做成數(shu)字化,做到“按(an)標準走流程”。

8. 把信息理“暢”
工廠最怕(pa)什(shen)么?信息堵塞。
前端不知(zhi)道后端在干啥,計劃不知(zhi)道現場哪里(li)卡(ka)了,老(lao)板(ban)更不知(zhi)道工廠到底(di)虧還是賺(zhuan)。
怎么理信息?
- 用系統把數據打通,讓人、單、料、機、錢全部聯通;
- 信息必須實時、透明、自動,別靠口頭、紙頭傳話。

四、結語
生產管理,歸根到底,就是八個字: 管大盤,理細節。
人、物、事、錢,先管好這(zhe)四個大盤,工廠(chang)自然有序;
戰(zhan)略、目標(biao)、風險、制度、職責、流程、標(biao)準(zhun)、信息,八個細節一理清,現場自然(ran)順暢。
是(shi)口(kou)號(hao),不是(shi)擺設, 它就是(shi)工(gong)廠每天的日常工(gong)作,就是(shi)生產(chan)現場的操作細節(jie)。
管好這四管八理,工廠就有底氣、能長遠。