在數字化轉型的浪潮下,項目管理已成為企業競爭力提升的關鍵抓手。無論是傳統制造業還是互聯網新貴,項目交付周期、成本控制、團隊協同等環節都直接影響著業務成敗。本文將從項目管理的核心流程、10個常見痛點及高效解決方案等角度,深入剖析項目管理的本質與落地實踐,結合國內外權威資料與真實案例,為企業和項目負責人提供系統化、可操作的提升路徑。
項目管理到底在“管什么”?很多企業用了各種協作工具、項目模板,卻依然陷入流程混亂、進度失控、溝通不暢的尷尬局面。數據顯示,全球約有70%的項目都未能按時、按預算交付(PMI, 2022)。技術再先進,如果流程管理不到位,項目就像沒舵的船。為什么明明有計劃,執行起來卻總是亂?為什么團隊成員頻繁抱怨流程復雜、責任不清?為什么成本總是超標,客戶卻不滿意?
本文將聚焦以下關鍵問題,為你系統解答:
- 項目管理到底覆蓋哪些核心流程?每一環節如何影響整體交付?
- 項目團隊最常見的10大痛點是什么?每個痛點背后隱藏哪些管理短板?
- 針對這些痛點,業界有哪些高效、實用的解決方案?如何落地實施?
- 真實企業案例、數據分析、工具推薦,如何幫助不同規模企業突破項目管理瓶頸?
無論你是項目經理、企業管理者,還是希望提升項目執行力的團隊成員,都能在這里找到“對癥下藥”的方法論和實戰建議。一起搞懂項目管理那些看似簡單、實則決定成敗的核心流程!
文章參考>> //gaoyunjjd.com
?? 一、項目管理到底管哪些流程?全景梳理與實戰解析
項目管理不是簡單的任務分配,更是一套涵蓋決策、計劃、執行、控制和交付的系統流程。每個環節相互作用,決定項目能否順利推進。

1、項目管理流程全景圖
項目管理的流程一般分為五大核心階段:
- 立項與需求分析
- 計劃制定與資源配置
- 執行與進度管理
- 質量控制與風險管理
- 收尾與交付總結
每個階段都有其獨特目標與關鍵活動,形成“螺旋式上升”的管理閉環。
立項與需求分析
項目啟動前,必須明確項目目標、范圍、可行性、資源和風險。這一環節決定了項目的“基因”,如果目標模糊、需求不清,后續所有流程都將失控。
- 需求調研與利益相關者訪談
- 項目目標、范圍定義
- 初步預算與資源評估
- 風險預判及應對策略
痛點:目標反復變動、需求無規范、利益相關者意見分歧。
計劃制定與資源配置
計劃是項目的“導航儀”。包括時間表、里程碑、任務分解、人員分工、預算分配等。
- 制定詳細項目計劃(WBS、甘特圖)
- 資源分配與角色確定
- 風險分級與應急預案
痛點:計劃脫離實際、資源分配不均、應急預案缺失。
執行與進度管理
計劃落地執行,團隊協作、任務推進、進度跟蹤、信息共享成為核心。
- 日常任務分配與督辦
- 進度匯報與異常預警
- 跨部門協同與溝通機制
痛點:進度延誤、溝通斷層、責任不清。
質量控制與風險管理
項目執行中,必須動態監控質量與風險,及時糾偏。
- 質量標準設定與審核
- 過程檢查與測試
- 風險監控與調整
痛點:質量標準模糊、風險響應滯后、缺乏透明度。
收尾與交付總結
項目收尾包含成果驗收、成本核查、經驗復盤和知識沉淀。

- 項目成果驗收與交付
- 成本決算與收尾資料歸檔
- 項目復盤與知識共享
痛點:驗收標準不一、成本漏算、經驗無法沉淀。
2、流程全景表格總結

每一個流程環節都可能成為項目失控的“突破口”,只有系統化管理才能保證項目按時、高質量交付。
3、實戰案例:數字化項目流程管控
某大型制造企業在推進MES系統項目時,因需求反復修改,導致計劃頻繁重排,資源配置混亂,結果項目延期3個月、成本超支15%。后來引入敏捷項目管理方法,搭建了流程化協作平臺(如 簡道云 項目管理系統),將需求、計劃、進度、質量等環節“數字化”,項目交付周期縮短至原計劃的85%。
- 需求變更自動流轉、計劃快速調整
- 進度一目了然,溝通透明
- 質量標準與風險應對線上協同
結論:流程管理數字化、自動化,是提升項目交付能力的“必選項”。
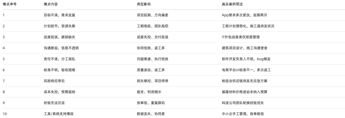
?? 二、項目團隊10大常見痛點深度拆解
項目管理陷阱無處不在,下面這10個痛點,是絕大多數企業和團隊最頭痛的問題。理解痛點本質,才能找到破局之道。
1、目標不清,需求反復變動
- 項目目標模糊,導致團隊執行方向不一致
- 需求頻繁變更,計劃無法落地
- 利益相關者意見不統一,決策效率低
典型案例:某互聯網公司App項目,因市場部和技術部對目標理解不同,需求多次推翻重來,項目延期兩個月。
2、計劃脫離實際,資源分配失衡
- 制定計劃時未充分考慮實際資源和風險
- 任務分配不合理,部分成員負擔過重
- 資源調度滯后,影響進度
典型案例:某工程項目,計劃只考慮理想情況,實際施工遇到多種突發狀況,導致工期拖延。
3、進度延誤,缺乏有效跟蹤
- 任務推進慢,進度經常滯后
- 沒有實時進度監控和預警機制
- 問題發現晚,無法及時調整
典型案例:某IT外包項目,進度表僅紙面管理,發現延誤時已無法補救。
4、溝通斷層,信息不透明
- 部門間溝通壁壘,信息無法及時共享
- 項目會議流于形式,問題難以暴露
- 溝通渠道單一,反饋滯后
典型案例:某建筑項目,設計與施工團隊溝通不暢,導致圖紙多次返工。
5、責任不清,權責分配混亂
- 任務分配模糊,責任人不明確
- 出現問題時“互相推鍋”
- 缺乏問責機制,執行力低下
典型案例:某軟件開發項目,模塊負責人不清,bug頻發難以定位。
6、質量標準不明確,驗收困難
- 項目成果標準模糊,驗收爭議頻發
- 質量控制缺乏流程化管理
- 客戶與團隊對“合格”理解不一致
典型案例:某電商平臺項目,前后端對UI效果標準不同,項目多次返工。
7、風險響應滯后,應急預案缺失
- 風險管理僅停留在表面
- 突發問題無應急預案
- 風險響應慢,損失無法控制
典型案例:某制造業項目,供應鏈突發中斷,因沒有應急方案,項目停滯。
8、成本失控,預算頻繁超標
- 預算編制不科學,缺乏動態調整
- 成本監控滯后,超支發現晚
- 項目收尾階段成本難以回收
典型案例:某大型基建項目,材料價格波動未納入預算,造成超支。
9、項目經驗無法沉淀,知識流失嚴重
- 項目收尾后無系統復盤
- 經驗僅靠個人記憶,無法共享
- 新項目重復“踩坑”,效率低
典型案例:某科技公司,項目團隊輪換頻繁,經驗無法繼承,項目質量波動大。
10、工具/系統支持薄弱,流程數字化程度低
- 依賴Excel、郵件、紙質文檔
- 項目數據分散,無法統一管理
- 缺乏自動化工具,流程繁瑣
典型案例:某中小企業,項目管理完全靠手工,數據丟失、協同效率低。
3、痛點總結表格

這些痛點,既是流程設計的“漏洞”,也是數字化轉型的“突破口”。
?? 三、高效解決方案與落地實踐,項目管理系統推薦
痛點不是無法解決,只是缺乏科學的工具、方法與流程。這里給出10大高效解決方案,結合主流項目管理系統,為企業數字化賦能。
1、目標與需求管理:SMART原則+數字化工具
- 制定明確、可衡量、可達成的SMART目標
- 利用需求管理平臺(如簡道云),需求變更自動流轉、實時追蹤
- 項目目標、需求變更全程可溯源
2、計劃與資源優化:敏捷+自動化排期
- 敏捷迭代計劃,靈活應對變化
- 自動化任務分配與資源調度,合理分工
- 資源池管理,動態調整團隊負載
3、進度與任務跟蹤:線上協同+可視化預警
- 項目看板、甘特圖實時展示進度
- 異常自動預警,任務逾期提醒
- 進度日報在線同步,跨部門協同高效
4、溝通與信息透明:多渠道協作平臺
- 集成IM工具、郵件、公告、會議紀要
- 項目內信息共享,歷史溝通可追溯
- 跨團隊、跨部門“一站式”溝通中心
5、責任與權責管理:流程化任務分配
- 任務設置責任人,自動生成問責鏈條
- 責任分配透明,全員可見
- 出現問題自動定位責任人,提升執行力
6、質量與驗收標準:流程化質量控制
- 質量驗收流程線上化,標準化
- 關鍵節點自動生成驗收清單
- 客戶、團隊共同定義驗收標準,減少爭議
7、風險與應急預案:數字化風險庫+自動預警
- 風險庫管理,自動識別高危環節
- 應急預案線上備案,突發問題一鍵聯動
- 風險動態監控,自動推送響應措施
8、成本與預算管控:動態預算+自動核算
- 預算編制科學化,成本項細分
- 項目成本實時監控,自動預警超支
- 收尾階段自動生成成本決算報告
9、經驗與知識沉淀:項目復盤+知識庫
- 項目結項后自動生成復盤報告
- 經驗教訓、最佳實踐沉淀至知識庫
- 新項目可快速查閱、復用前人經驗
10、數字化工具賦能:項目管理系統推薦
現在國內外主流項目管理系統眾多,推薦分數與應用場景如下:

推薦理由
- 簡道云項目管理系統?是國內零代碼數字化平臺的領軍者,擁有完善的項目立項、計劃、進度、成本管控等功能,支持免費在線試用,無需編程即可靈活修改流程,真正適合中國企業復雜、多變的項目管理需求。口碑好、性價比高,適用于中大型企業全流程管理,項目經理與團隊成員都能快速上手。
- 簡道云項目管理系統模板在線試用:gaoyunjjd.com
- 其他工具如Worktile、Teambition、Jira等,適合互聯網、軟件開發等行業,功能各有側重,建議根據企業規模與行業特性選擇。
4、解決方案落地案例:簡道云助力制造企業數字化轉型
某制造企業引入簡道云項目管理系統后,項目立項、計劃、進度、成本等全流程實現數字化,團隊協作效率提升50%,項目延期率下降至5%以內。項目經驗復盤與知識庫建設,幫助新團隊快速復制成功經驗,實現項目管理能力“螺旋式升維”。
結論:流程化、數字化工具是解決項目管理痛點的“加速器”,簡道云等系統能讓項目管理“有跡可循”。
?? 四、結尾:項目管理
本文相關FAQs
1. 項目管理到底要怎么梳理流程?團隊總感覺各干各的,流程一團亂,怎么破?
項目管理里,大家總說流程要理清,但實際操作起來真是相當頭疼。有時候老板要求結果,團隊成員只顧自己任務,項目流程像散沙一樣,溝通成本高不說,還容易漏掉重要環節。有沒有什么靠譜的方法能讓流程清晰起來,團隊配合更默契?
先和大家打個招呼,項目流程混亂這個問題太常見了,尤其是團隊擴展、項目多線并行的時候,真的容易亂成一鍋粥。我自己踩過不少坑,后來總結出幾條實用經驗,分享給大家:
- 明確項目生命周期:不要一上來就開干,建議先把項目的五大流程——立項、計劃、執行、監控、收尾——用思維導圖或者流程圖梳理出來。這樣每個人都清楚自己在哪個階段需要干啥,避免互相推諉。
- 流程標準化:建立一套統一的項目流程模板,比如任務分配、進度匯報、風險預警這些關鍵節點都要有明確的責任人和操作指引。用表格或者項目管理工具(比如簡道云項目管理系統)做成SOP,大家只要照著走流程就不會亂。
- 信息透明化:項目進展、難點、變更一定要公開透明。可以用看板工具或者微信群做每日/每周同步,誰拖了進度一目了然,利于大家互相提醒和補位。
- 持續復盤:每個階段結束后團隊都要坐下來復盤流程,哪些環節卡頓了、哪些溝通有誤及時總結,下一次就能優化。
- 工具輔助:像簡道云這類零代碼平臺,真的能幫大忙。它能根據你團隊實際情況自定義流程,項目立項、計劃、進度、成本管控全都有,關鍵是不用敲代碼,想怎么改就怎么改,適合流程隨項目變化的團隊。可以免費試用,性價比很高: ?簡道云項目管理系統模板在線試用:gaoyunjjd.com? 。
流程不是一天能理順的,但只要大家愿意配合,工具和方法用對了,團隊協作會順暢很多。大家如果有更好的流程梳理經驗,也歡迎分享,互相學習!
2. 項目計劃總是趕不上變化,需求頻繁變動怎么辦?有沒有靠譜的應對策略?
項目做著做著,甲方或老板突然加新需求,原計劃被打亂,時間和資源一再壓縮。大家有沒有遇到這種情況?項目計劃到底怎么才能應對這種頻繁變化,保證項目不崩?求實戰經驗!
大家好,這個問題太真實了,項目計劃跟不上變化,需求又像“疊加buff”一樣往上加,真的讓人頭大。說實話,這種情況很常見,關鍵是要學會“動態管理”,我有幾點實戰建議:
- 需求變更流程化:一定要建立規范的需求變更流程。比如新增需求必須有書面申請、評估影響、審批流程,不能隨便一句話就讓團隊加班。這樣可以減少無序變更,讓團隊有底氣拒絕無理要求。
- 計劃分階段滾動更新:不要一次把項目計劃定死,建議采用“滾動計劃”模式。把大項目切分成小階段,每階段結束后根據實際情況調整下一階段計劃。這樣既有靈活性,又能及時響應變化。
- 風險預警機制:項目初期就要做好風險識別,比如需求變動的概率、資源瓶頸這些提前列出來,遇到變更能快速響應。可以用風險清單、優先級排序幫助決策。
- 溝通機制升級:需求變更時,團隊和甲方要及時對齊預期,最好有定期的項目例會或同步群,變更信息第一時間傳達,減少誤解和重復勞動。
- 工具輔助“可視化”:推薦用項目管理工具來跟蹤需求和計劃變化,比如簡道云、飛書、Teambition這些都能實時同步項目動態。簡道云支持零代碼自定義流程,很適合需求多變的團隊,試用也很方便。
項目計劃“活”起來,團隊就能更好地適應變化。遇到頻繁變更時,也可以用敏捷開發思路,把需求變更變成迭代的一部分。大家有更多應對策略歡迎補充,畢竟每個項目的情況都不一樣,互通有無才是王道!
3. 項目成本控制總是失控,預算超了誰背鍋?有沒有高效管成本的實用方法?
每次項目做完,成本都比預算多,老板問責誰負責,團隊一臉懵。到底怎么才能控制好項目成本?預算怎么做才靠譜?有沒有大佬能分享點實用的成本管控經驗和工具,別讓每次結項都成“追責大會”!
大家好,項目成本失控真的很常見,尤其是需求變動、資源調配不及時的時候,預算就像“紙老虎”,根本守不住。以前我也在項目結項時被“秋后算賬”,后來摸索出一些實用方法,分享給大家:
- 預算細化分解:不要只定個總預算,建議把項目預算細分到每個階段、每項任務和每個人。這樣成本消耗有跡可循,超支能第一時間發現。
- 實時成本跟蹤:每筆支出都要記錄在案,建議用表格或項目管理系統實時錄入,不要等到項目結束才算賬。飛書、Teambition、簡道云這些工具都支持成本模塊,尤其是簡道云,可以根據自己項目自定義成本表,操作很靈活。
- 透明化責任歸屬:預算審批流程要公開透明,誰批的、誰花的都要有記錄。項目成本超支時,能快速定位責任人,避免大家互相甩鍋。
- 定期成本復盤:建議每周或每階段都對比實際成本和預算,發現異常及時調整。比如某個階段花超了,要么優化流程,要么申請追加預算,絕不拖到最后。
- 成本預警機制:設置預算預警,比如支出超過80%時自動提醒團隊,提前采取措施,減少“臨時救火”。
- 工具推薦:有些項目管理工具的成本模塊做得不錯,比如簡道云、明道云等,簡道云支持零代碼自定義預算和成本流程,適合不同規模項目。免費試用入口在這里: ?簡道云項目管理系統模板在線試用:gaoyunjjd.com? 。
成本管控不是一蹴而就的事,關鍵是流程和工具結合,團隊成員有成本意識,預算才能守得住。如果大家有其他高效的管控方法,歡迎交流,項目管理路上一起避坑!