提到項目管理(li),就繞(rao)不(bu)開一個核(he)心工具(ju)——WBS。
它不僅是項(xiang)目計劃的起(qi)點,更是任(ren)務(wu)落地、責任(ren)分配、進度管控的底層(ceng)結構。
可以說,不會做WBS,項目就沒法精細化管理。
那WBS到底是什么?和普通任務清單有什么區別?項目經理在實際工作中,又該如何從0創建一套真正可執行、可追蹤、能落地的WBS結構?
這篇文章就帶你從基礎(chu)概念、常見誤(wu)區到(dao)多級分解(jie),手把手講(jiang)清楚:WBS到(dao)底怎(zen)么(me)做。
下文所涉及到的WBS分解方案來源于項目管理系統: //gaoyunjjd.com
一、WBS是什么?
WBS,全稱是Work Breakdown Structure,中文叫工作分解結構。
WBS 的特點:
- 一是結構性分解;
- 二是要給分解的內容賦唯一的 WBS 編碼;
- 三就是保證分解后的任務有唯一的責任人或組織
WBS和任務清單有什么不同?
很多人做項(xiang)目(mu)管理時,把任務列表往Excel里一(yi)列,覺得這就是WBS,其實這只是“待辦(ban)事項(xiang)”。
真正的WBS,拆的不是動作,而是交付物,比如:
- 一期上線系統 → 拆成系統搭建、數據準備、測試培訓等階段交付
- 一場展會落地 → 拆成場地確認、物料制作、人員統籌、執行反饋
不是誰來做什么,而是項目必須交付什么,再反推怎么做、誰來做。

二、如何制作WBS?有哪些常見問題
1.如何制作WBS:
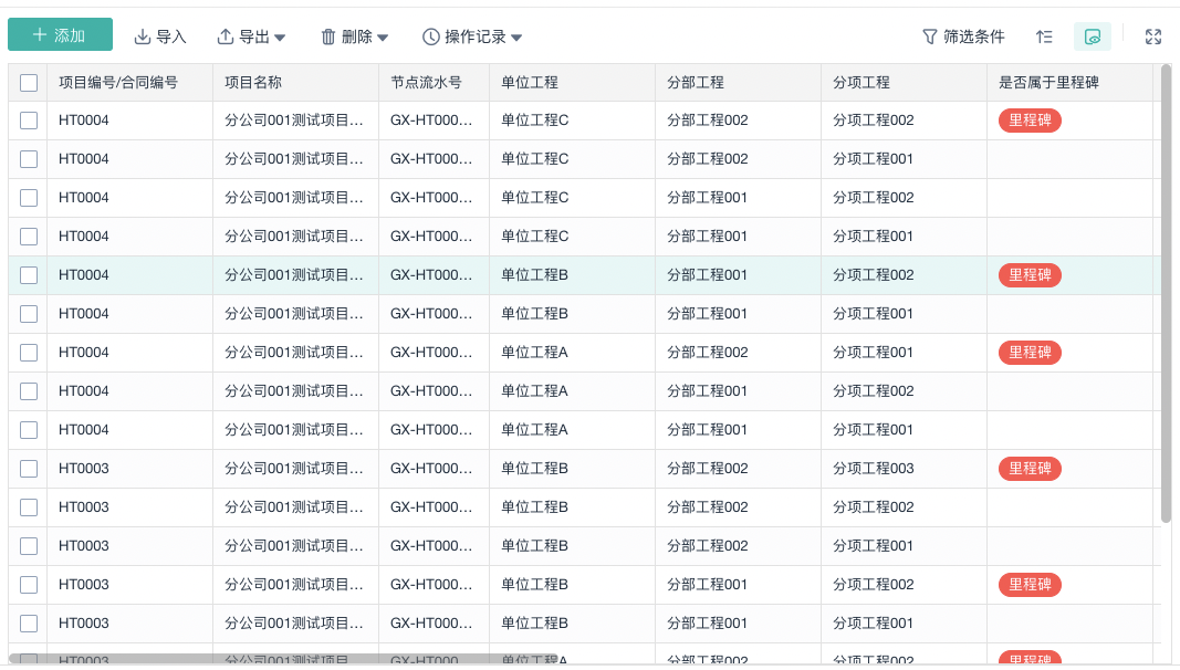
WBS本(ben)質(zhi)上是(shi)一張數據表單,呈現像是(shi)下面這種格式(shi):

所以構建表單的時(shi)候,配置(zhi)好(hao)項(xiang)目編(bian)號、單位(wei)工(gong)(gong)程、分(fen)部工(gong)(gong)程、分(fen)項(xiang)工(gong)(gong)程這幾個字段即可(ke)。
WBS 每個節點的唯一性,所以一定要配(pei)置一個 流(liu)水號 字段,命(ming)名(ming)為“節點流(liu)水號”
這(zhe)么(me)一張表構建好,就可以通過 Excel 導入的(de)方(fang)式、或者逐條增加的(de)方(fang)式來(lai)編制 WBS 了。
2.常見問題:
WBS 的層級通常包(bao)含 3~6 級,每個層級下(xia)包(bao)含 3~7 個子項。
所以在實際進行 WBS 分解時(shi),常常面臨(lin)以下痛點問題(ti):
- 無法自動化編號:項目復雜,任務、子任務多的情況下,人工編號容易跳號、重復。
- 無法結構化展示:每個項目有多個里程碑任務,每個里程碑任務又包含多個子任務,子任務下面還可能繼續往下分解,如果分解后的任務不能按照項目的結構有序展示,將會增加項目的管理難度。
下面我就給大家演示,在項(xiang)目管(guan)理系統中,通過公式自動編號以及視圖結構化展示這兩(liang)大核心(xin)能力,讓多層(ceng)級復(fu)雜(za)項(xiang)目易(yi)管(guan)理、易(yi)控制、易(yi)跟蹤。

三、多級WBS分解實現思路和方案
1. 實現思路
多級 WBS 分(fen)解方案的(de)實現思路如(ru)下(xia):
- 新建一張任務管理表和一張任務創建表
- 任務創建表中根據任務管理表的數據,以及任務層級類型,自動完成 WBS 編號
- 任務創建表中完成WBS編號并提交任務以后,將任務自動同步至任務管理表中統一管理
- 通過表格視圖自定義排序,將任務按照編號順序自動排序,使項目結構清晰呈現
2. 預期效果
在項目(mu)管(guan)理系統中通過 WBS 編號及排序,可以(yi)在表格視圖中,直觀(guan)體現項目(mu)層級關系,讓項目(mu)管(guan)理更加有序、高效:

3.實現步驟
第一步:創建表單
1)任務管理表單
創建(jian)一張任務(wu)管(guan)理表單,用(yong)于(yu)(yu)集中(zhong)管(guan)理所有類型的任務(wu),在任務(wu)管(guan)理表單中(zhong)創建(jian)一個文本輔助字段,用(yong)于(yu)(yu)創建(jian)任務(wu)時計算 WBS 編號:

2)創建任務表單
創(chuang)(chuang)建(jian)任(ren)(ren)務(wu)表(biao)單主要用于創(chuang)(chuang)建(jian)子(zi)(zi)(zi)任(ren)(ren)務(wu)以及子(zi)(zi)(zi)子(zi)(zi)(zi)任(ren)(ren)務(wu),選擇創(chuang)(chuang)建(jian)子(zi)(zi)(zi)任(ren)(ren)務(wu),則關(guan)(guan)聯對應的里程(cheng)碑任(ren)(ren)務(wu)相(xiang)關(guan)(guan)信(xin)息;選擇創(chuang)(chuang)建(jian)子(zi)(zi)(zi)子(zi)(zi)(zi)任(ren)(ren)務(wu),除了關(guan)(guan)聯里程(cheng)碑任(ren)(ren)務(wu),還(huan)需要關(guan)(guan)聯子(zi)(zi)(zi)任(ren)(ren)務(wu)相(xiang)關(guan)(guan)信(xin)息。
通過(guo)關聯的對應的上(shang)級(ji)任(ren)務信息,計算出本任(ren)務的 WBS 編(bian)號。

第二步: 計算 WBS 編號
1)新建輔助字段
在創建任(ren)務(wu)(wu)的時候新建一(yi)個(ge)輔助字段,計算公式為:CONCATENATE(任(ren)務(wu)(wu)類型,里程碑任(ren)務(wu)(wu)編號,子任(ren)務(wu)(wu)編號)
這樣就可以(yi)把同一類型的任務(wu)統一編碼,后續(xu)可以(yi)通過計算個數來進行 WBS 編號。

2)計算 WBS 編號
若選(xuan)(xuan)擇了(le)子(zi)(zi)任務(wu)進(jin)行創建,需要(yao)選(xuan)(xuan)擇對應(ying)的上(shang)級里(li)程(cheng)碑任務(wu),選(xuan)(xuan)擇后自動(dong)聯動(dong)出里(li)程(cheng)碑任務(wu)編號,子(zi)(zi)子(zi)(zi)任務(wu)不(bu)需要(yao)關聯,所以子(zi)(zi)子(zi)(zi)任務(wu)編號為空。
實現邏輯為:先求出該任(ren)(ren)(ren)務(wu)在(zai)同一上(shang)級(ji)任(ren)(ren)(ren)務(wu)下的(de)個(ge)數,在(zai)與上(shang)級(ji)任(ren)(ren)(ren)務(wu)的(de) WBS 相連接,拼接為本任(ren)(ren)(ren)務(wu)的(de) WBS 編(bian)號。

第三步:任務排序
在管理任務的表單視圖中,將(jiang)任務按(an)照 WBS 編號“升序”進(jin)行排(pai)序,任務即(ji)可有序展示(shi)在表格中:

TIP:
如果你想更(geng)快捷的完成任(ren)務創建(jian)(jian),還(huan)可以(yi)在任(ren)務管理處,創建(jian)(jian)自定(ding)義按鈕(niu),用(yong)于快捷創建(jian)(jian)子任(ren)務以(yi)及子子任(ren)務。

最終成果:
WBS的動態效果演示

四、結語
項目越復雜,越不能靠經驗推進,結構化管理才是底層能力。
而讓WBS真正用起來(lai),必須依托系統,將結構、編號、責任與進度打通(tong),形成閉環。
如果(guo)您的項目管理(li)(li)比較簡單,僅需兩級 WBS 分(fen)解即可,那么推薦項目管理(li)(li)方案,內置 2 級 WBS 結構:
